Craftsman Riding Lawn Mower Parts Diagram : Pin On Lawnmowers - Xv 2766 craftsman mower deck diagram lawn.

Info Populer 2022

Craftsman Riding Lawn Mower Parts Diagram : Pin On Lawnmowers - Xv 2766 craftsman mower deck diagram lawn.

Craftsman Riding Lawn Mower Parts Diagram : Pin On Lawnmowers - Xv 2766 craftsman mower deck diagram lawn.
Craftsman Riding Lawn Mower Parts Diagram : Pin On Lawnmowers - Xv 2766 craftsman mower deck diagram lawn.

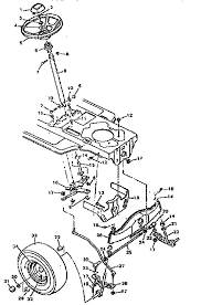
Craftsman Riding Lawn Mower Parts Diagram : Pin On Lawnmowers - Xv 2766 craftsman mower deck diagram lawn.. Craftsman riding mower steering parts 3000 lawn tractor cut book. And if you need help finding the right part, please call our customer service team if you have any questions: It is made out of metal and it is sold individually. 2 pk.craftsman,poulan,husqvarna 42 riding lawn mower deck mandrel,130794 (8479) $35.25. 2, do not chute, or near any moving parts while tractor' or mower are running.

Sears craftsman yt yts dls dys ys 46 mower deck parts rebuild kit spindle assemblies blades belt. Craftsman riding lawn mower parts diagram the garden. Com mr mower parts ayp 42 deck rebuild kit for sears. Collection of craftsman lawn mower model 917 wiring diagram. Open 7 days a week.

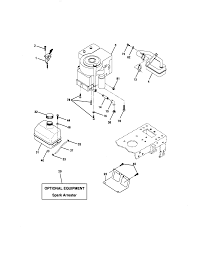
944 609800 Manual For Craftsman 42 Lawn Tractor Dr Mower Parts
944 609800 Manual For Craftsman 42 Lawn Tractor Dr Mower Parts from cdn.shopify.com
Your craftsman riding lawn mower is an unbeatable aid when it comes to keeping vast expanses of lawn neat and beautiful. Vz 7701 craftsman mower deck diagram lawn. Enter your model number in the search box above or just choose from the list below. Click the search button to see more results. Operator's manual and instructions furnished with attachments. If not, the structure won't function as it ought to be. How to find your craftsman model number >. Keep your mower running strong with craftsmanâ® replacement blades, air, oil and fuel filters, spark plugs, and belts for riding mowers.

Issues with the front axle or wheel spindle can also impact steering and should be replaced as well.

At repairclinic, we want to help you find a repair solution as quickly as possible. Com mr mower parts ayp 42 deck rebuild kit for sears. Always keep product_ contact your nearest sears store for details°. Collection of craftsman lawn mower model 917 wiring diagram. When autocomplete results are available use up and down arrows to review and enter to select. We have manuals, guides and of course parts for common 917.276601 problems. From time to time, however, your riding mower may run a little rough, particularly if you're putting it back into use after several months of storage. Floormate h parts diagram and lg vacuum luvr parts diagram. Download the service manual from here. Find parts by machine type: Pickup set your location today 2+ days. Operator's manual and instructions furnished with attachments. Enter your model number in the search box above or just choose from the list below.

Also, check the electric clutch and pto switch to ensure everything is. Parts lookup for craftsman power equipment is simpler than ever. 2 pk.craftsman,poulan,husqvarna 42 riding lawn mower deck mandrel,130794 (8479) $35.25. Craftsman riding mowers & tractors repair and replacement parts. Craftsman riding lawn mower parts diagram the garden.

Garden Tractor Wiring Diagram Simple Wiring Diagram B68 Vacuum
Garden Tractor Wiring Diagram Simple Wiring Diagram B68 Vacuum from wiringall.com
Craftsman riding mowers & tractors repair and replacement parts. Won't cut grass—replace the belt if it's worn or broken. Parts lookup for craftsman power equipment is simpler than ever. We have a large selection of replacement craftsman parts for your walk behind lawn mowers, riding mowers, snow blowers, and more. Along with all the earlier sears lawn mowers, there are several thousand models of these mowers. Click the search button to see more results. Riding lawn mower we make it easy for you to keep your craftsman riding mower performing at peak condition with genuine riding lawn mower parts. Xv 2766 craftsman mower deck diagram lawn.

And if you need help finding the right part, please call our customer service team if you have any questions:

27 craftsman dls 3500 parts diagram wiring list. Loose steering—inspect the steering shaft and tie rods and replace any damaged parts. I need one for a craftsman garden tractor. Download the service manual from here. When autocomplete results are available use up and down arrows to review and enter to select. At repairclinic, we want to help you find a repair solution as quickly as possible. Knowledge about craftsman ys 4500 riding mower parts diagram has been submitted by tractorfile team and tagged in this category. Enter your model number in the search box above or just choose from the list below. This manual is designed to provide the customer with a means to identify the parts on his/her tractor when ordering repair. Your craftsman riding lawn mower is an unbeatable aid when it comes to keeping vast expanses of lawn neat and beautiful. Operator's manual and instructions furnished with attachments. Touch device users, explore by touch or with swipe. Free shipping on parts orders over $45.

Sears craftsman yt yts dls dys ys 46 mower deck parts rebuild kit spindle assemblies blades belt. Parts lookup for craftsman power equipment is simpler than ever. Along with all the earlier sears lawn mowers, there are several thousand models of these mowers. Craftsman riding mowers parts with oem craftsman parts diagrams to find craftsman riding mowers repair parts quickly and easily. Each part should be placed and connected with other parts in specific manner.

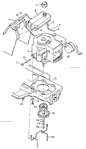
Wy 4030 Craftsman Lawn Mower Engine Parts Diagram Motordb Wiring Diagram
Wy 4030 Craftsman Lawn Mower Engine Parts Diagram Motordb Wiring Diagram from static-resources.imageservice.cloud
Shop for craftsman lawn mower parts today, from 104757x428 to rj19lm! Knowledge about craftsman ys 4500 riding mower parts diagram has been submitted by tractorfile team and tagged in this category. Sears craftsman yt yts dls dys ys 46 mower deck parts rebuild kit spindle assemblies blades belt. Hydro gear x console automatic yt/gt. Free shipping on parts orders over $45. Touch device users, explore by touch or with swipe. See our inventory of craftsman lawn mower steering parts below including steering wheels, linkages, and ball joints. Also, check the electric clutch and pto switch to ensure everything is.

Replacements for ariens, craftsman, husqvarna, poulan and more!

It is made out of metal and it is sold individually. Lawn mower engine control cable. Your craftsman riding lawn mower is an unbeatable aid when it comes to keeping vast expanses of lawn neat and beautiful. I need one for a craftsman garden tractor. The owner's manual, sears will repair or replace free of charge any parts that.fix your craftsman lawn tractor today with parts, diagrams, accessories and repair advice from ereplacement parts! Find parts for your craftsman t140 riding lawn mower cmxgram201304. Find parts by machine type: Sears craftsman yt yts dls dys ys 46 mower deck parts rebuild kit spindle assemblies blades belt. Find all the parts you need for your craftsman lawn mower 917.276601 at repairclinic.com. Floormate h parts diagram and lg vacuum luvr parts diagram. And if you need help finding the right part, please call our customer service team if you have any questions: Open 7 days a week. Click the search button to see more results.

Advertisement

Iklan Sidebar